Об измерении канальных вентиляторов
Авторы данной статьи более 25 лет занимаются теоретическими и практическими разработками (последовательно в ЦАГИ, МОВЕНе, ИННОВЕНТе) в части аэродинамики и акустики вентиляторов, и другой воздуходувной техники. Они участвовали в разработке наиболее распространенных сегодня на рынках типов вентиляторов, таких как ВР-86-77, ВР-300-45, ВО-14-320, ВО-25-188, ВКРМ, ВК-11, а также их модификаций для систем дымозащиты. Ими разработан ряд специальных вентиляторов под конкретные задачи как российских ВЕЗА, ВЕНТА и др., так и зарубежных компаний, например ABB Flakt, Carrier, и д.р.
В журнале АВОК N7, 2004 г была опубликована статья к.т.н. Караджи В.Г. и Московко Ю.Г., где обсуждались вопросы, поднятые в статье г-на Р.К. Эсманского (журнал АВОК N5, 2004г.). В ответ на эту статью г-н Р.К. Эсманский опубликовал на страницах сайта АВОК свой ответ. С некоторыми его утверждениями авторы согласиться не могут.
Об измерении канальных вентиляторов в попугаях
Авторы данной статьи более 25 лет занимаются теоретическими и практическими разработками (последовательно в ЦАГИ, МОВЕНе, ИННОВЕНТе) в части аэродинамики и акустики вентиляторов, и другой воздуходувной техники. Они участвовали в разработке наиболее распространенных сегодня на рынках типов вентиляторов, таких как ВР-86-77, ВР-300-45, ВО-14-320, ВО-25-188, ВКРМ, ВК-11, а также их модификаций для систем дымозащиты. Ими разработан ряд специальных вентиляторов под конкретные задачи как российских ВЕЗА, ВЕНТА и др., так и зарубежных компаний, например ABB Flakt, Carrier, и д.р.
В журнале АВОК N7, 2004 г была опубликована статья к.т.н. Караджи В.Г. и Московко Ю.Г., где обсуждались вопросы, поднятые в статье г-на Р.К. Эсманского (журнал АВОК N5, 2004г.). В ответ на эту статью г-н Р.К. Эсманский опубликовал на страницах сайта АВОК свой ответ. С некоторыми его утверждениями авторы согласиться не могут.
Уважаемые коллеги, основная цель нашей предыдущей статьи заключалась не в попытках принизить достоинства одних канальных вентиляторов и выпятить достоинства других, а показать, что ориентиром в большом многообразии различных типов и разновидностей вентиляторов не может служить предлагаемый автором параметр: "приведенное давление" ("энерговооруженность"). Наша профессиональная деятельность связана с исследованиями и разработкой осевых и радиальных вентиляторов на протяжении более чем 25 лет. При этом мы, как и специалисты во всем мире, работающие в этой области, опираемся на фундаментальные основы аэродинамики вентиляторов и используем в своих исследованиях и разработках проверенный и зарекомендовавший себя инструментарий, который включает в себя безразмерные аэродинамические характеристики вентиляторов, в том числе и коэффициент полезного действия. Существуют и другие обобщенные параметры: габаритность, быстроходность, которыми можно пользоваться для сравнения вентиляторов различных типов [1]. Эти параметры позволяют производить глубокое сравнение вентиляторов разных аэродинамических схем и принимать объективные выводы об эффективности их применения, независимо, в частности, от типа используемого привода. Об этих параметрах можно прочитать в соответствующей научной литературе. Если же автор статьи [2] решил использовать для сравнения вентиляторов новый параметр, а именно "приведенное давление", то он должен предварительно объяснить его физический смысл, обосновать его полезность, эффективность и показать недостатки использовавшихся ранее способов сравнения, чтобы научно-практическое сообщество взяло его на вооружение и наградило автора по заслугам. Мы же пока не увидели никакого обоснования возможности использования "приведенного давления" для сравнения вентиляторов, напротив, указанный термин приводит к путанице и необоснованным выводам. Если это научный подход, то крайне неудачный, напоминающий известное измерение длины удава в попугаях. Если это коммерческий ход, призванный увеличить продажи вентиляторов определенной торговой марки производителя - то недобросовестный и лукавый по отношению к потребителю.
Уважаемые коллеги, вы можете обращаться к нам для получения разъяснений по возникающим у вас вопросам об особенностях использования вентиляторов различных типов, или же задать нам конкретные вопросы по теме дискуссии на сайте www.innovent.ru или по адресу info@innovent.ru.
Тем же, кто следит за дискуссией, рекомендуем прочитать наш ответ, тем более, что с нашей стороны, очевидно, этот будет последним, так как мы не имеем более возможности тратить время на разъяснение автору многочисленных, мягко говоря "неточностей", содержащихся в его научном труде. Далее в нашем ответе курсивом отмечены выдержки из текстов статей, жирным шрифтом - ключевые моменты, на которые следует обратить внимание, а "неточности" -подчеркиванием.
Выдержка из статьи [2]: "Наиболее важным геометрическим параметром канального вентилятора, который определяет возможность размещения системы вентиляции за потолком, является минимальный размер поперечного габарита вентилятора. Для сравнительной оценки различных видов канальных вентиляторов или при сравнениях внутри типоразмерного ряда вентиляторов целесообразно давление вентилятора на характерной скорости потока приводить к единице величины минимального размера поперечного габарита. Такое давление будем называть приведенным давлением". Заметим, что параметр "приведенное давление" предлагается определять на режиме, при котором скорость в поперечном сечении канального вентилятора равна 3,5м/с. Таким образом, в параметре не присутствует мощность, не определена величина поперечного габарита, позволяющего устанавливать вентиляторы в подшивные потолки, ничем не ограничены уровни шума. Каким должно быть значение параметра, видно из текста автора [2]: "……вентиляторы ВРПП выглядят значительно предпочтительней. У них приведенное давление по типоразмерам распределяется более равномерно и, в среднем в 1,5 раза выше, чем у вентиляторов КТ". Если мы правильно понимаем, то чем больше этот параметр, тем лучше (равномерность распределения оставим в стороне, как вообще неопределенный термин). Напомним читателю, что численные значения параметра "приведенное давление" фигурируют в таблицах 3 и 6 статьи [2] , но по собственному признанию автора [5] в таблице 6 им была допущена непринципиальная "ошибка": "…приведенное давление вентиляторов ВРПП во всех сечениях действительно увеличено в 1,5 раза из-за ошибки автора…"!
Автору [5] не понравилось, что в нашем ответе [3] мы сравнили вентиляторы равных геометрических размеров и примерно одинаковой мощности. Выберем из таблицы 3 [2] (которая, надеемся, свободна от ошибок автора) вентилятор ВРПП с наибольшим значением параметра "приведенное давление", габариты которого, тем не менее, позволяют использовать его в подшивных потолках. Данные из [2] приведены в табл.1.
| Таблица 1 | ||||||||||||
|
||||||||||||
Как видно, ни наименование вентиляторов, ни их основные параметры в таблице оппонентом не приведены. Очевидно, были рассмотрены следующие вентиляторы (см. табл. 2).
| Таблица 2 | |||||||||||||||||||||
|
|||||||||||||||||||||
Данные по вентилятору ВРПП нами были взяты из каталога [4]. Оставим без внимания некоторое несоответствие в значениях параметров "приведенное давление". Не будем также обращать внимание на то, что установочная мощность вентилятора ВРПП на 35% (!) больше, чем у вентилятора КТ 50-30-4. Если воспользоваться параметром "приведенное давление", то вентилятор ВРПП 50х30 выглядит явно предпочтительней. Но можно ли его ставить в подшивной потолок? Очевидно, нет, если обратить внимание на уровни звуковой мощности этого вентилятора.
Далее. Автор предлагает серию вентиляторов, имеющих равную мощность 0,75кВт
и примерно близкие геометрические параметры, (которые были рассмотрены нами,
чтобы показать абсурдность параметра "приведенное давление"), дополнить
"самым мощным" - вентилятором ВРПП 70х40Г [5]. Не можем согласиться
по двум причинам:
- вентилятор имеет в три раза большую мощность электродвигателя -2,2кВт;
- вентилятор не может быть установлен в подшивных потолках, так как имеет уровень
звуковой мощности 90/ 93/ 77дБА (вход/выход/корпус).
Имеет ли право на существование вентилятор ВРПП 70х40Г? Конечно, имеет, но не для установки в подшивных потолках, следовательно, поперечный размер вентилятора не имеет значения. В этом случае, его можно рассматривать среди вентиляторов равной мощности, но желательно с близкими геометрическими параметрами. Сравним три канальных вентилятора одинаковой мощности, один из которых - ВРПП 70х40Г. Характеристики вентиляторов по статическому давлению приведены на рис. 1, а данные сведены в табл. 3.
| Таблица 3 | |||||||||||||||||||||||||||||||
|
|||||||||||||||||||||||||||||||
* по каталогу КВМ (август 2004г) ** по ИНТЕРНЕТ сайту |
|||||||||||||||||||||||||||||||
![]() |
Как сравнивать эти вентиляторы? Попробуем сравнить, используя параметр "приведенное давление". Значения параметра приведены в табл. 4:
| Таблица 4 | ||||||||||||
|
Хуже ли вентилятор УНИВЕНТ 5-4-2 чем остальные, у которых "приведенное давление" более чем в три раза больше? Очевидно, да, если он должен быть установлен в ограниченном пространстве (напоминаю, что речь не идет о подшивных потолках). Лучше ли вентилятор УНИВЕНТ 5-4-2? Очевидно да, если необходимо получить больший расход воздуха и при этом иметь существенно меньший шум. Можно ли сравнивать вентиляторы по параметру "приведенное давление"? Можно, если есть желание, но делать выводы - нельзя.
Какой из вентиляторов - близнецов лучше, вентилятор УНИВЕНТ или ВРПП? Вентиляторы имеют одинаковое приведенное давление. Заметим, что анализ шумовых характеристик, опять таки затруднен, так как вентилятор ВРПП 70х40Г имеет разные уровни шума по каталогу [4] и по Интернет - сайту изготовителя. Причем на сайте указан уровень звуковой мощности, например, на выходе из вентилятора меньше на 6дБА, чем по каталогу. Напоминаем читателю, что в абсолютных цифрах это снижение звуковой мощности в разы!!! Поразительный результат, за счет чего же он достигнут? Может быть на сайте приведены характеристики вентилятора с другим, модернизированным колесом? Нет, так как аэродинамические характеристики и там и тут одни и те же. Может быть, использован специальный корпус? Может быть, но на сайте об этом не сказано ни слова.
Напоминаем, что вентилятор УНИВЕНТ 3,15-2-1 - это по терминологии автора [5] вентилятор "с резко сдвинутой вправо характеристикой", равно как и вентиляторы УНИВЕНТ 4-4-1 и УНИВЕНТ 5-4-1, которые были использованы нами для анализа в нашей статье [3], и сравнение с которыми так не понравилось автору [5]. Вентиляторы с широким диапазоном производительности ("с резко сдвинутой вправо характеристикой") являются предметом нашей гордости, так как при равной мощности они имеют на 20% больше производительность, чем аналоги. Обращаем внимание читателя, что характеристики вентиляторов ВРПП 70-40Г и УНИВЕНТ 3,15-2-1 подозрительно совпадают. Это может быть чистой случайностью, следствием того, о чем мы писали в [3], а именно - характеристики вентиляторов с одним и тем же колесом не изменяются с изменением формы корпуса (в определенных пределах), и что также не понравилось оппоненту. Оставляем читателю самому догадаться, в чем причина такого совпадения, а в качестве подсказки напоминаем, что фирма "ИННОВЕНТ" выпускает канальные вентиляторы, в том числе "с резко сдвинутой вправо характеристикой" с 1999г.
Несколько слов о форме корпуса. Из текста автора [5]: "По нашим данным при прямоточной схеме и примерно одинаковых площадях поперечного сечения корпуса его форма во многих случаях оказывает существенное влияние на аэродинамические характеристики рабочих колес с назад загнутыми лопатками. Аналогичные результаты получены и другими исследователями. В частности установлено, что при радиальном зазоре между рабочим колесом и стенкой корпуса с двух противоположных сторон меньше 0,3 наружного диаметра рабочего колеса аэродинамическая характеристика прямоточного вентилятора существенно ухудшается". У квадратных вентиляторов этот зазор значительно меньше, в то время как у прямоугольного вентилятора благоприятное значение зазора легко достигается". Возьмем для примера вентилятор ВРПП 70х40Г, который предположительно имеет рабочее колесо диаметром 315мм, а зазор с двух противоположных сторон равен 400-315=85 мм. В долях наружного диаметра колеса этот зазор равен - 0,27, то есть меньше 0,3! Это означает, что поперечный размер вентилятора уменьшен относительно минимально возможного, при котором характеристики вентилятора, как считает автор [5], существенно ухудшаются. Возникает резонный вопрос, а зачем же выпускать канальные вентиляторы с ухудшенными характеристиками, другими словами с уменьшенным поперечным размером корпуса? Может быть, для увеличения специально придуманного параметра "приведенное давление"? Оставляем возможность читателю самому провести анализ геометрических соотношений прямоугольных корпусов остальных канальных вентиляторов производства КВМ. Наш анализ показывает, что у некоторых вентиляторов серии ВРПП, этот параметр равен 0,2! Посмотрим, какой же зазор у вентиляторов УНИВЕНТ [6] с квадратными корпусами и стандартными колесами. В силу симметрии квадратного корпуса этот зазор (относительно диаметра колеса) со всех сторон составляет - 0,4!
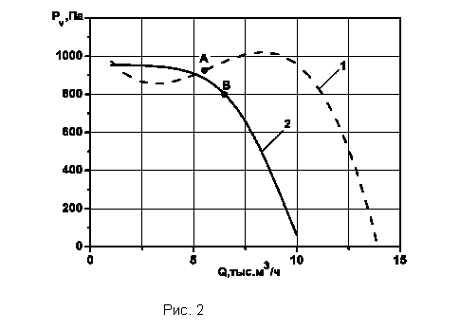
Далее. Автор упрекает, нас в том, что мы сравнили вентилятор ВРПП 100х50Б, с вентилятором ВРПД 4-4-3, у которого электродвигатель имеет более чем в 3 раза большую мощность [5]. Именно затем, чтобы показать абсурдность параметра "приведенное давление", если не учитывать потребляемую либо установочную мощность. Еще раз приводим цитату оппонента "……вентиляторы ВРПП выглядят значительно предпочтительней. У них приведенное давление по типоразмерам распределяется более равномерно и, в среднем в 1,5 раза выше, чем у вентиляторов КТ". Мы исходим из того, что оппонент предложил параметр "приведенное давление" для анализа не только ВРПП, но и любых канальных вентиляторов, а вентилятор ВРПД является таковым. Если оппоненту не нравится сравнение с близким по габаритам вентилятором ВРПП 100х50Б, то сравним его с вентилятором ВРПП 100х50В, чтобы еще более наглядно показать абсурдность предлагаемого оппонентом параметра. Параметры вентиляторов сведены в табл. 5, а характеристики вентиляторов приведены на рис. 2.
| Таблица 5 | ||||||||||||||||||||||||
|
||||||||||||||||||||||||
![]() |
Зададимся вопросом, а можно ли ставить подобные вентиляторы в подшивные потолки? Очевидно, что нет из-за большого уровня шума. Но, если не игнорировать как пишет автор [5] "использование подшивных потолков в удаленных от рабочих зон местах (в санузлах, коридорах и т.п.)"? Тогда, очевидно, для сравнения можно использовать параметр "приведенное давление". На режиме, где скорость в выходном сечении вентилятора ВРПП 100х50В равна 3,5м/с (точка В), вентилятор имеет "приведенное давление 1600 Па/м, а вентилятор ВРПД 4-4-3, точка А -1850 Па/м. Как видно, близки как режимы по производительности (режим 3,5м/с), так и сами параметры "приведенное давление". Значит ли это, что вентиляторы абсолютно равнозначны для потребителя? Если оценивать формально, используя предлагаемый оппонентом параметр "приведенное давление" - то абсолютно равнозначны. А на самом деле? Какой из вентиляторов лучше на этом режиме? Сравнивать опять же нельзя, так как режимов аналогичных режиму А (вентилятора ВРПД) необходимо всячески избегать. Специалисты об этом знают. Что из этого следует? Что режим 3,5м/с не для всех вентиляторов является рабочим. А на других режимах? Это уже другой, научный анализ, связанный с учетом положения рабочих точек на характеристиках вентиляторов, потребляемой мощности либо КПД, акустических параметров, то есть все то, к чему параметр "приведенное давление" не имеет никакого отношения. Заканчивая это сравнение вентиляторов, зададим читателю вопрос, не удивляет ли его то обстоятельство, что вентилятор ВРПД имея в 3 раза большую мощность, на 40% больше производительность, тем не менее, имеет меньшие величины звуковой мощности, чем вентилятор ВРПП 100х50В?
Можно еще долго комбинировать вентиляторы, но на наш взгляд, приведенных в нашей предыдущей статье [3] и в этом ответе примеров хватает, чтобы убедиться в абсурдности параметра "приведенное давление" при сравнении канальных вентиляторов.
Литература
1. Центробежные вентиляторы. Под. ред. Т.С. Соломаховой. М.Машиностроение.1975, 416 с.
2. Эсманский Р.К.Канальный вентилятор и его привод. Анализ тенденций развития. АВОК, N5, 2004г.
3. Караджи В.Г., Московко Ю.Г. "О приведенном давлении" и о и сравнении канальных вентиляторов, АВОК, N7, 2004г.
4. Каталог "КВМ", август, 2004г, Интернет- сайт "КВМ" www.c-v-m.ru .
5. Эсманский Р.К. Еще раз о канальных вентиляторах. Интернет - сайт АВОК. Диалог специалистов/ В порядке обсуждения/Канальные вентиляторы.
6. Каталог ООО "ИННОВЕНТ", 2004г.
Статьи по теме
- О специфике канальных вентиляторов
- О типоразмерных рядах канальных вентиляторов и критериях их оценки
- Еще раз о канальных вентиляторах
- Канальный вентилятор и его привод. Анализ тенденций развития
АВОК №5'2004 - О "приведенном давлении " и о сравнении канальных вентиляторов
АВОК №7'2004 - К вопросу о канальных вентиляторов
АВОК №7'2004 - Опыт оценки эффективности средств защиты от шума канальных и центробежных вентиляторов
АВОК №2'2007
Подписка на журналы














