Конструктивные и деформативные особенности систем «грунт – полимерная труба»
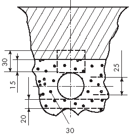
Конструктивные и деформативные особенности систем «грунт - полимерная труба», как показывает анализ напряженно-деформированного состояния самотечных полимерных трубопроводов, зависит от ряда факторов [1]. Основные из них - это характеристики труб, геометрия зон Zi (рис. 1), параметры находящихся в этих зонах грунтов. В качестве главных в существующих математических моделях, описывающих работу систем «грунт - полимерная труба»
Конструктивные и деформативные особенности систем «грунт – полимерная труба»
Конструктивные и деформативные особенности систем «грунт - полимерная труба», как показывает анализ напряженно-деформированного состояния самотечных полимерных трубопроводов, зависит от ряда факторов [1]. Основные из них - это характеристики труб, геометрия зон Zi (рис. 1), параметры находящихся в этих зонах грунтов. В качестве главных в существующих математических моделях, описывающих работу систем «грунт - полимерная труба», приняты:
- кольцевая жесткость G - для труб;
- модуль деформации Егр (характеристика линейной связи между приращениями давления на грунт и его деформациями [2]) - для грунтов.
![]() |
Рисунок 1. Грунтовые зоны Z1 – Z11, определяющие прочностное поведение самотечного полимерного трубопровода (СПТ) |
Анализ также показывает, что геометрия указанных зон изначально определяется видом укладки самотечного полимерного трубопровода (СПТ) в грунтовый массив, а качество грунта - местными условиями и способами его засыпки [3] в процессе монтажа полимерных труб конкретного наружного диаметра D с конкретной толщиной стенки e и с конкретной кратковременной кольцевой жесткостью G0.
Засыпка грунта вокруг полимерных труб не только влияет на капитальные и трудовые затраты, но и во многом определяет работоспособность СПТ при эксплуатации. Это объясняется тем, что полимерные трубы - гибкие. Под действием вертикальной нагрузки от грунта и транспорта они сжимаются, образуя в поперечном сечении эллипс. При этом возникает боковой отпор грунта, который препятствует овализации поперечного сечения трубы. Более того, вертикальное давление на верхнюю часть полимерной трубы уменьшается благодаря образованию над ней грунтового свода.
В многочисленных лабораторных стендовых испытаниях и в натурных наблюдениях отечественных и зарубежных ученых [4-6] замечено, что овализация поперечного сечения полимерной трубы проходит три стадии (рис. 2).
Рисунок 2 (подробнее)
Деформации y эксплуатируемых трубопроводов из НПВХ диаметром 315 мм:
1–9 – трубы с кольцевой жесткостью Ж [7]; 10–19 – трубы с кольцевой жесткостью ПЖ [7]; 20–27 – трубы с кольцевой жесткостью НЖ [7]
уложены в смерзшемся песке |
Первая стадия - сжатие полимерной трубы развивается при засыпке траншеи. Темп и величина такого сжатия зависят от типа труб, вида исходного грунта, степени уплотнения пазух траншеи (зона Z7), а также давления верхних слоев грунта на трубу, что связано с глубиной заложения.
Вторая стадия - сжатие полимерной трубы происходит в процессе стабилизации грунта в траншее под воздействием, например, вибрации от транспорта, движущегося над трубопроводом. Темп и величина сжатия зависят от нагрузки (глубины заложения и транспорта) на полимерную трубу и угла ее опирания на дно траншеи в зоне Z6.
Третья стадия - сжатие полимерной трубы происходит одновременно с дальнейшей (иногда очень продолжительной) стабилизацией грунта (особенно связного) вокруг трубопровода. Продолжительность стабилизации модуля деформации грунта Егр, например, для слабых грунтов существенно зависит от напряжений в грунте Pv (рис. 3).
![]() |
Рисунок 3. Сжимаемость n ила и мелкого песка в зависимости от напряжений Pv в грунте и степени его уплотнения J (Егр=Pv/n) |
Изменение модуля упругости полимера Е0, который при определенных растягивающих напряжениях в стенках труб может уменьшаться с течением времени с различной степенью интенсивности, также удлиняет процесс стабилизации системы «грунт - полимерная труба» [8].
При назначении допустимых деформаций y (10, 8, 6 и 5 %) для труб из ПЭ 32; ПЭ 63, ПЭ 80, ПЭ 100; ПП и НПВХ учитывают начальные деформации y0, образуемые при транспортировке и складировании, и деформации, происходящие в процессе укладки труб - yм и в процессе эксплуатации СПТ - yJ.
В стендовых испытаниях [8] установлено, что шелыга трубы из НПВХ, уложенной в несвязных грунтах, понижается под действием грунтовой нагрузки при высоте засыпки H ≤ 3D. Увеличение высоты засыпки приводит к почти полному прекращению деформаций сечения трубы, что объясняется образованием грунтового свода. Шелыга трубы из НПВХ при уплотнении грунта в пазухах повышается, а затем понижается под воздействием нагрузки от массы грунта. Уплотнение грунта даже тяжелыми агрегатами не вызывает деформаций поперечного сечения трубы из НПВХ при высоте засыпки H ≥ 0,8 м. Увеличение толщины стенки e на 25 % трубы из НПВХ практически не влияет на ее деформации при действии равных нагрузок (табл. 1).
| Таблица 1 Конструктивные и деформативные показатели экспериментальных исследований труб из НПВХ в грунтовом боксе |
||||||||||||||||||||||||||||||||||||||||||||||||||||||||||||
|
||||||||||||||||||||||||||||||||||||||||||||||||||||||||||||
1 Минус (–) – понижение шелыги; плюс (+) – повышение шелыги |
||||||||||||||||||||||||||||||||||||||||||||||||||||||||||||
Конечная деформация y поперечного сечения полимерных труб зависит [9] от глубины заложения и кольцевой жесткости G труб и продолжается до того момента, пока давления грунта на их оболочку в вертикальном и горизонтальном направлениях практически не уравновесятся (рис. 4).
![]() |
Рисунок 4 (подробнее)
Эпюры изменения давления грунта на оболочку труб из ПЭ 63 диаметром 1000 мм (кольцевая жесткость ПЖ [7]) неуплотненного (а)
и уплотненного (б) песчаного грунта при глубине заложения: |
В практике строительства наиболее часто имеет место прокладка СПТ в узких траншеях (рис. 5), B ≤ D + 30 (см).
![]() |
Рисунок 5. Расположение СПТ в узкой траншее 1 – траншея; 2 – полимерная труба; 3 – дно траншеи |
В этом случае на трубу - в отличие от прокладки ее в широкой траншее (B > D + 30 см) - с обеих сторон действуют равномерные и минимальные по величине нагрузки.
Максимальные нагрузки испытывают полимерные трубы, проложенные в насыпи (рис. 6) высотой H.
![]() |
Рисунок 6. Расположение СПТ в насыпи |
В разноуровневой траншее (рис. 7) полимерные трубы, находящиеся вверху, нагружены в большей степени, чем другие (трубы, находящиеся внизу и посередине траншеи).
![]() |
Рисунок 7. Разноуровневое расположение трех СПТ в одной траншее 1 – траншея; 2 – полимерная труба; 3 – дно траншеи |
Как свидетельствуют практика и теоретические расчеты, угол наклона стенок траншеи слабо влияет на вертикальное сжатие полимерных труб.
Ширина траншеи выбирается с учетом возможности качественного крепления ее стенок (если это требуется по ходу строительства). Ширина траншеи должна быть достаточной для выполнения оптимального уплотнения грунта в зонах Z5, Z7, Z9.
Максимальная глубина траншеи определяется с учетом результатов гидравлических расчетов. (При проведении таких расчетов подбирают уклон СПТ, при котором будут обеспечиваться самоочищающие скорости течения стоков.) Минимальная глубина заложения СПТ должна быть одновременно больше 1 м и одного D, а также и глубины промерзания грунта.
Для засыпки СПТ используются несвязные и связные грунты (исключением являются ил, торф, разжиженная глина), требующие минимальных затрат на уплотнение. Иногда с большей выгодой применяются местные грунты с соответствующим их уплотнением (рис. 8), т. к. привозной грунт значительно повышает затраты на строительство.
![]() |
Рисунок 8. Изменение плотности грунтов g в зависимости
от их влажности W |
Если монтаж СПТ производят в холодное время года, принимают меры по защите дна траншеи от промерзания, чтобы под уложенными трубами не осталось промерзшего твердого грунта. В слабых грунтах (с прочностью менее 0,1 МПа) дно траншеи укрепляют слоем гравия, щебня либо деревянными настилами, бетонными плитами, которые в случае необходимости укладывают на свайное основание (рис. 9), покрытое слоем песка толщиной от 10 до 25 см.
![]() |
Рисунок 9. Расположение СПТ на сваях (слева) и настиле (справа) |
С целью исключения неравномерной осадки СПТ в случае образования впадин или неуплотненных областей вследствие удаления из траншеи крупных каменистых включений (рис. 10) ее дно выравнивается слоем песка толщиной не менее 10 см с уплотнением, а между крупными камнями и трубой засыпается грунт шириной не менее 20 см (рис. 10).
![]() |
Рисунок 10. Расположение СПТ в траншее рядом с крупными каменистыми включениями |
В процессе укладки СПТ с проектным уклоном иногда трубы сильно прижимают ко дну траншеи.
Это приводит к тому, что выступы на дне траншеи вдавливаются в гибкие стенки полимерных труб и происходит перераспределение давления, вызванное сжимаемостью грунта. Реакция опоры концентрируется в местах опирания полимерных труб на выступы, что может стать причиной повреждения полимерных труб. В таких случаях полимерный трубопровод следует укладывать на уплотненный выравнивающий дно траншеи насыпной слой грунта толщиной 10-15 см (или на выровненное дно траншеи). Этот насыпной слой нельзя укладывать на замерзшее дно траншеи. Если на дне траншеи имеется снег или лед, его удаляют непосредственно перед отсыпкой выравнивающего слоя из талого грунта (песка).
Главным недостатком насыпного мягкого грунта является подверженность размыву и выносу его из-под СПТ грунтовыми водами. Из-за пустот, образующихся в ложе СПТ при размыве грунта, происходит концентрация давления и, как следствие, сильное локальное сжатие (вдавливание стенок) полимерных труб в местах их опирания, что может привести к аварии. Для ее предотвращения необходимо добиться того, чтобы мягкий грунт насыпного слоя хорошо дренировался и уровень воды в траншее при укладке труб был ниже верхней границы зон Z5 и Z6.
После полной засыпки траншеи призма грунта над СПТ должна опираться в основном на уплотненный грунт в пазухах траншеи (зоны Z5, Z7, Z9), а не на гибкую полимерную трубу (зона Z8).
Формирование грунтового свода и выравнивание давления на стенки СПТ приводят к тому, что в стенках полимерных труб преобладают напряжения сжатия, которые менее опасны для полимеров, чем напряжения растяжения. Для этого над полимерными трубами укладывают слой мягкого грунта толщиной не менее 15 см. При этом грунт в зоне Z8 уплотняют в меньшей степени, чем в пазухах траншеи (зоны Z7 и Z9). Это позволяет создать над СПТ прочный грунтовый свод, который может выдержать значительные вертикальные нагрузки.
Для образования свода заполнение грунтом защитных зон производят обязательно, ни на миг не прерываясь.
В зоны, расположенные вокруг СПТ, грунт насыпают с бровки на дно траншеи и выше. Отсыпка грунта непосредственно на СПТ может повредить его, особенно если монтаж ведется при низких температурах, когда эластичность полимерных труб существенно снижается, или в жаркую погоду, когда кольцевая жесткость тонкостенных полимерных труб мала.
При отсыпке грунта в защитные зоны следят за тем, чтобы уложенный в проектное положение СПТ не сместился. Поэтому заполняют грунтом обе пазухи траншеи одновременно.
В процессе уплотнения грунта в защитных зонах (Z7 и Z9) нельзя допускать ударов уплотняющего оборудования о стенки СПТ, т. к. это может его повредить. Для этого оборудование располагают от стенок полимерных трубы на расстоянии, равном толщине слоя грунта над СПТ, т. к. давление от горизонтально расположенного уплотняющего механизма распространяется вниз почти под углом 45° к его опорной поверхности.
Прочностное поведение СПТ во многом определяется условиями производства работ, которые ориентировочно делятся [10] на сложные, нормальные и легкие.
Сложные условия связываются с одним либо со всеми факторами, такими как:
- СПТ предстоит укладывать в скальном либо каменистом грунте;
- на трассе СПТ имеются органогенный грунт, плывун или грунт с малой несущей способностью (топь);
- глубина заложения СПТ превышает 4 м;
- на СПТ действуют постоянно или периодически поверхностные нагрузки;
- прокладка СПТ ведется в зоне грунтовых вод;
- СПТ размещается на крутом склоне;
- СПТ прокладывается вблизи здания (рис. 11).
![]() |
Рисунок 11. Расположение полимерного трубопровода вблизи здания |
В качестве нормальных условий приняты следующие факторы:
- грунты на трассе СПТ не содержат крупных камней, прослоек органогенных почв;
- глубина заложения СПТ не превышает 4 м;
- СПТ будет воспринимать только нагрузки от грунта засыпки (поверхностная нагрузка носит случайный характер).
Легкие условия увязываются со следующими факторами:
- СПТ предстоит прокладывать в гравии, песке, мелкозернистой глине;
- глубина заложения СПТ не превышает 2,5 м;
- на СПТ будет действовать только нагрузка от грунта;
- СПТ будет находиться выше уровня грунтовых вод.
Для СПТ, укладываемых в сложных условиях, рекомендуется применять трубы с кольцевой жесткостью Ж. При этом дно траншеи следует обязательно очистить от камней либо укрепить, например, железобетонной плитой (рис. 12), поверх которой обязательно должен быть насыпан выравнивающий слой грунта толщиной (в уплотненном состоянии) не менее 10 см.
![]() |
Рисунок 12. Расположение СПТ над железобетонной плитой |
Если мореные грунты в траншее содержат на высоте выравнивающего слоя камни или твердые скальные осколки крупностью более 60 мм, то толщину этого слоя увеличивают до 15-20 см. Слой мягкого грунта такой же толщины насыпают в траншее, выполненной в скалистой породе (рис. 13), даже при относительно ровном ее дне.
![]() |
Рисунок 13. Расположение СПТ в скале |
Для расположения СПТ в проектном положении насыпают выравнивающий слой мягкого грунта и уплотняют его механическим путем. Защитные зоны (Z7 и Z9) в данных условиях уплотняют различными способами (ручной трамбовкой, механическими уплотнителями) послойно; толщина слоя уплотняемого грунта не должна превышать 25 см. В гравийных и песчаных грунтах СПТ укладывают на ровное естественное дно траншеи без использования насыпного слоя даже при глубине заложения более 4 м. Плотность естественного грунта на дне траншеи (зона Z6) должна быть меньше плотности насыпного грунта в защитных зонах (Z7 и Z8). В противном случае дно траншеи перед укладкой СПТ разрыхляют. Перед уплотнением первого слоя грунта в защитных зонах Z5 и Z7 необходимо убедиться (путем использования визирки и проверки на «зеркало») в том, что СПТ опирается на основание траншеи равномерно по всей длине и занимает проектное положение.
К другим методам защиты оболочки СПТ (например, к бетонированию) прибегают в тех случаях, когда недостаточна несущая способность грунта в зонах Z1-Z4, и невозможно качественно уплотнить защитный слой в зонах Z5 и Z7. При уплотнении всегда следует стремиться к достижению однородной плотности грунта во всех зонах, за исключением зон Z6 и Z8, в которых грунт должен быть менее плотным.
В нормальных условиях следует применять трубы с кольцевой жесткостью ПЖ. СПТ может быть уложен на естественное дно траншеи без отсыпки выравнивающего слоя (в случае отсутствия на дне траншеи камней крупностью более 20 мм). При наличии камней такой крупности на дно траншеи насыпают выравнивающий слой толщиной не менее 10 см. Если крупность камней превышает 60 мм, толщину насыпного слоя необходимо увеличить до 15-20 см.
Насыпной выравнивающий слой иногда устраивают на участке прокладки для повышения дна траншеи над уровнем грунтовых вод, причем этот слой обязательно уплотняют. Грунт защитных зон (Z5, Z7, Z9) можно уплотнять вручную или даже утаптыванием послойно, если толщина каждого отсыпаемого грунтового слоя составляет менее 25 см.
В легких условиях производства работ допустимо применение полимерных труб с кольцевой жесткостью НЖ. СПТ укладывают непосредственно на выровненное дно траншеи (без устройства насыпного выравнивающего слоя). Грунт в защитных зонах Z5, Z7, Z9 уплотняют послойно утаптыванием, толщина каждого слоя не более 25 см.
Для устройства защитных зон вокруг СПТ иногда используются глинистые мелкозернистые грунты с прочностью, соответствующей кольцевой жесткости труб и глубине их заложения (табл. 2).
| Таблица 2 Характеристики глинистых грунтов |
|||||||||||||||
|
|||||||||||||||
1 Для условий: нормальных – числитель, сложных – знаменатель |
Траншею с СПТ засыпают полностью после устройства защитных зон Z5, Z7, Z9 и Z8 и проверки путем гидравлических (пневматических) испытаний прочности и плотности полимерных труб и стыков.
В сложных условиях засыпка грунта в зону Z10 производится из отвала лишь в том случае, если грунт в этой зоне можно уплотнить без деформации СПТ или последующая осадка грунта не повлияет отрицательно на целостность зоны Z11, т. к. это в последствии может привести к разрушению дороги. Такая осадка грунта может произойти при производстве земляных работ вблизи СПТ либо при устройстве дорожного полотна над ним и т. п.
В местах пересечения трассы СПТ с дорогами, улицами, территориями складов или другими аналогичными площадками засыпаемый грунт уплотняют до такой степени, чтобы зона Z10 имела несущую способность, достаточную для восприятия предполагаемых поверхностных нагрузок (в большинстве случаев, как и окружающий траншею грунт в зоне Z4).
На территориях, где перемещается легкий транспорт, допускается прокладка СПТ из труб с кольцевой жесткостью ПЖ и с устройством защитных зон из мелкозернистого глинистого грунта прочностью не менее 0,25 МПа. Минимальная глубина заложения полимерного трубопровода должна быть одновременно не менее 1 м, одного D и глубины промерзания.
Допускаются выполнение обратной засыпки траншеи и уплотнение грунта механизированным способом непосредственно над СПТ, но эти технологические процессы разрешается выполнять, если толщина слоя засыпки, уложенного над полимерными трубами вручную, будет не менее 30 см.
Уплотнение грунта с использованием тяжелых агрегатов (массой более 300 кг) допускается при толщине засыпки над СПТ (зоны Z8-Z10) более 75 см.
В нормальных и легких условиях производства работ зона Z10 траншеи может быть засыпана грунтом из отвалов после устройства над СПТ защитных зон Z8 и Z9; засыпку можно не уплотнять.
Подбивку грунта вокруг СПТ необходимо производить равномерно, одновременно с обеих сторон, чтобы избежать его сдвига. Допускается снятие креплений с боковых стенок траншей, если засыпаемый в траншею грунт сразу же уплотняется. При снятии креплений следует соблюдать особую осторожность для предотвращения обвала грунта в верхней части зоны Z4 и образования пустот под СПТ либо сбоку от него.
При прокладке СПТ под проезжей частью необходимо, чтобы степень уплотнения грунта от основания труб (ложа) и до уровня 30 см над шелыгой в зонах Z5, Z7, Z9 составляла 97 % (по Проктору) для несвязных грунтов и 95 % - для связных.
При прокладке СПТ, подверженных действию транспортных нагрузок, необходимо применять трубы с кольцевой жесткостью не ниже ПЖ. При укладке полимерных труб должны выполняться требования по производству земляных работ, соответствующие сложным условиям, глубина заложения самотечных трубопроводных сетей в данном случае должна превышать 1 м. Защитный грунтовый слой вокруг полимерных труб обычно уплотняют механизированным способом. Чтобы не допустить неравномерной осадки дневной поверхности земли (дороги) над СПТ, грунт в зоне Z10 следует уплотнять в соответствии с требованиями к плотности грунта под улицей или дорогой.
Для устройства СПТ, которые будут испытывать периодическую нагрузку от транспорта, можно применять трубы с кольцевой жесткостью класса НЖ. Если на какие-либо участки СПТ в процессе эксплуатации возможно действие нагрузок от массы тяжелых видов транспорта (например, экскаватора), то эти участки следует заключать в защитный кожух, например в трубы большего диаметра.
В заключение следует указать на то, что своевременный учет конструктивных и деформационных особенностей систем «грунт - полимерная труба» должен позволить наиболее правильно подбирать полимерные трубы и грунт для их засыпки с тем, чтобы создавать более надежные самотечные трубопроводные сети.
Следует также отметить, что рассмотренное не коснулось поведения систем «грунт - полимерная труба», сопровождающего, например, изменение грунтового массива (зоны Z1-Z4) вследствие негативных воздействий утечек воды из соседних коммуникаций, меняющегося во времени от течения грунтовых вод [11], вибраций и др. Работы в этом направлении ведутся.
Литература
1. Отставнов А. А. Производство земляных работ при прокладке самотечных трубопроводов из термопластов // Энергетическое строительство за рубежом. 1985. № 3.
2. ГОСТ 20276-85. Грунты. Методы полевого определения характеристик деформируемости.
3. Отставнов А. А. Влияние грунтов на прочность безнапорных пластмассовых трубопроводов // Новое в технологии и организации строительного производства: Сб. науч. трудов НИИ Мосстрой. М., 1978.
4. Abhandlungen 3R international. 14 Jahrgang, Heft 8. Aachen, Dezember 1975, 121 S.
5. Proceedings of the International Conference on Underground Plastic Pipe. March 30 - April 1, Neworleans, Lousiana, 1981.
6. 5 th. International Conference Plastic Pipes. Heslington, 8-10 Sept., 1982, London.
7. СП-40-102-2000. Проектирование и монтаж трубопроводов систем водоснабжения и канализации из полимерных материалов. Общие требования.
8. Proceedings of the 2-nd. International Plastic Pipes Symposium. Southaumpton. September, 12-14, 1972.
9. Kunststoffe Hoechst. Hostalen GM 5010. Rohre. Frankfurt (M.), 5, 1977.
10. Jaskeleinenen H. Flexible kanalrohre. 3 R International 14 (1975) 8, 15 (1976) 2/3 p.p. 94-103.
11. Кулачкин Б. И., Радкевич А. И., Платонов А. С., Александровский Ю. В. Новые аспекты механики грунтов и геотехники // Монтажные и специальные работы в строительстве. 2005. № 8.
Статья опубликована в журнале “Сантехника” за №2'2007
Статьи по теме
- Шаровые шарнирные соединения для антисейсмической защиты внутренних водопроводных сетей зданий
Сантехника №3'2003 - Тепловая изоляция оборудования и трубопроводов. Современное состояние и перспективы развития
Энергосбережение №10-юбилейн'2005 - Принципы оптимизации при проектировании разводящих трубопроводов
Энергосбережение №4'2007 - О работоспособности в самотечных трубопроводах соединений полимерных труб на гладких раструбах
Сантехника №5'2007 - Опыт эксплуатации трубопроводов инженерных систем зданий
Сантехника №4'2009 - «РОСТерм black»: высокие стандарты качества
АВОК №7'2017 - Износ и повреждение тепловых сетей. Решение проблемы качества и надежности энергоснабжения
Энергосбережение №4'2019 - Износ и повреждение тепловых сетей. Решение проблемы качества и надежности энергоснабжения
Энергосбережение №5'2019 - Полимерные трубы для внутренних систем канализации. Особенности подбора и монтажа
Сантехника №2'2017 - Тепловая изоляция промышленных трубопроводов
Энергосбережение №5'2000
Подписка на журналы

























