Фильтры и фильтрующие материалы
Разработана отечественная технология очистки питьевой воды. Установка очистки воды состоит из основного модуля, который удаляет из воды мелкодисперсные частицы (механические загрязнения), железо, марганец, алюминий, никель, кобальт, хром, медь, тяжелые металлы, радионуклиды, обеспечивает бактерицидное воздействие дозированием в воду серебра.
Фильтры и фильтрующие материалы.
Технология очистки питьевой воды
Разработана отечественная технология очистки питьевой воды. Установка очистки воды состоит из основного модуля, который удаляет из воды мелкодисперсные частицы (механические загрязнения), железо, марганец, алюминий, никель, кобальт, хром, медь, тяжелые металлы, радионуклиды, обеспечивает бактерицидное воздействие дозированием в воду серебра. Основной модуль не требует регенерации фильтрующего материала, достаточно его взрыхлить обратным потоком воды в течение 15–20 минут, после чего он снова готов к длительной очистки питьевой воды. Режим фильтрации и взрыхления предусмотрен в схеме и технологией основного модуля.
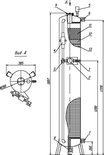
Общий вид основного модуля представлен на рис. 1, 2.
Фильтр полностью выполнен из нержавеющей стали, применяемой для хранения пищевых продуктов. Производительность – до 1,5 м3/ч (3,5 м3/ч). Масса без загрузки – не более 25 кг (100 кг), с загрузкой – не более 100 кг (400 кг). Габаритные размеры (мм) – 250х1700 (500х1700).
Вода из сети или от насоса через вентиль (1) подается на счетчик расхода воды (2), затем на трехходовой кран (3), на эжектор (4), где подсасывается воздух, после чего поступает в верхнюю часть фильтра. Избыточный воздух выбрасывается в атмосферу через клапан (5), а вода поступает в слой катализатора (11), на котором все формы железа, марганца, алюминия и др. переводятся в грубодисперсную форму. Проходя через слой (12), вода насыщается серебром, после чего все дисперсные частицы из воды удаляются на слое механической очистки (13). На выходе из фильтра – очищенная вода (7).
После накопления большого количества дисперсных частиц в слое механической очистки возрастает сопротивление потоку воду. Обычно это происходит после 1–2 месяцев непрерывной работы фильтра.
Для удаления накопившихся частиц ручка трехходового крана поворачивается из положения «Очистка» в положение «Взрыхление», вода подается в нижнюю часть фильтра и, поступая снизу вверх, взрыхляет фильтрующие материалы, освобождая их от накопившихся частиц. Процесс взрыхления длится 15–20 минут. Сетка (10) исключает вынос фильтрующего материала из фильтра. Затем трехходовой вентиль устанавливается в положение «Очистка» на следующие 1–2 месяца. Процессы фильтрации и взрыхления чередуются на протяжении нескольких лет.
Загрузка фильтрующих материалов осуществляется через специальное окно загрузки (9). Дренаж воды из фильтра осуществляется через вентиль (8).
Основной модуль, как правило, обеспечивает значительную часть потребностей в очистке питьевой воды в различных регионах России, где преобладающим загрязнением питьевой воды является железо.
В случае появления дополнительных требований по очистке питьевой воды, например, от сероводорода, или аммиака, или солей жесткости, или фтора, либо других загрязнений, отражающих специфику конкретного региона, к основному модулю подключаются дополнительные модули, обеспечивающие удаление специфических загрязнений.
В настоящее время выпускаются и реализуются модули очистки с производительностью по очищаемой воде до 1,5 м3/ч и до 3,5 м3/ч. Сертификаты № 77.01.06.369.П.40181.12.1 от 27 декабря 2001 года и 77.01.06.369.Т.40180.12.1 от 27 декабря 2001 года. Эффект очистки воды достигается применением новых фильтрующих материалов либо в их сочетании с традиционными.
Катализатор преобразования железа и других металлов в дисперсные частицы
Катализатор обеспечивает коагуляцию коллоидных частиц и снижает растворимость соединений металлов, переводя их в дисперсные частицы, которые удаляются механически в слое катализатора или механического фильтра. Восстановление работы фильтрующего слоя обеспечивается взрыхлением слоя обратным потоком воды и удалением накопившихся дисперсных частиц.
![]() |
![]() |
Рисунок 1. |
Рисунок 2. |
Катализатор применяется в основном модуле очистки воды.
В таблице представлены характеристики катализаторов окисления железа.
Фильтрующий материал дозирования серебра
Дозирование серебра в воду осуществляется использованием ионообменной смолы и катализатора в серебряной форме, что обеспечивает бактерицидное действие и экономное расходование серебра. При этом содержание серебра в воде значительно ниже санитарной нормы, которая равна 0,05 мг/л. Изменение концентрации серебра в воде происходит ступенчато: от 5х10–3 в слое ионообменной смолы до 10–5–10–6 мг/л в слое катализатора. Такой режим дозирования серебра обеспечивает эффективное бактерицидное действие, снижает содержание его в очищенной воде на несколько порядков ниже требований санитарных норм и обладает пролангированным действием. Фильтрующий материал используется в основном модуле очистки воды.
Другие фильтрующие материалы
На базе ионообменных смол были созданы фильтрующие материалы для:
— удаления аммиака;
— удаления сероводорода;
— дозирования йода.
На основе растительных полимеров создан фильтрующий материал для очистки воды от бактерий, токсинов, органических загрязнений. Содержит не менее 95% активного вещества. Имеет высокие сорбционные свойства по поглощению бактерий (725–800 млн/г), превышающие сорбционную способность лучших активированных углей (96 млн/г) в 7–8 раз.
На основе волокон фарфора создан фильтрующий материал тонкой очистки воды от мелкодисперсных частиц.
Проходит испытание фильтрующий материал для очистки воды от фтора.
Все эти фильтрующие материалы предназначены для использования в дополнительных модулях очистки воды.
Таблица (подробнее) Характеристика катализаторов окисления |
Статья опубликована в журнале “Сантехника” за №3'2002
Статьи по теме
- Эксплуатация и техническое облуживание крышных кондиционеров
АВОК №5'1998 - Радиальные фильтры обезжелезивания подземных вод. Инженерные и технологические решения
Сантехника №4'2006 - Защита приточного воздуха от заражения химическими и биологическими агентами
АВОК №3'2003 - Активные фильтры гармоник
Энергосбережение №4'2004
Подписка на журналы














